网站首页
公司简介
产品中心
公司荣誉
新闻中心
营销网络
服务理念
联系我们
产品列表
Products
管式反应器
管道过滤器
滤件系列
精细过滤器
自洁式过滤器
空气过滤器
混合设备
管道小设备
洗眼器
消声器
规整填料
排水器
高效换热器
产品中心>>精细过滤器
精细过滤器-袋式精细过滤器
产品概述
袋式精细过滤器是由容器、滤袋、支撑网篮三部分构成一个简便、
高效、通用的液体过滤系统。需要过滤的流体,由上口进入滤袋,液体
中的固定物质会被阻留在袋内,从而得到清洁的流体,由于其使用简
便,经济合理,因而广泛用于石油产品、化工产品、油漆、食品及饮
料、污水等方面过滤。袋式精细过滤器具有高流通能力,高过滤精度,
低成本,操作简便、快速等特点。适用于任何微细颗粒(少于1000ppm)
的过滤,精度范围可从1至1000μm及1至1000m3/h 的液体过滤。
型号标注
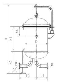
1、单线式精细过滤器JHGB-I型
2、多袋式精细过滤器JHGB-II型
①四袋式精细过滤器JHGB-4II
主要技术参数:
工作压力≤1.0MPa
工作温度≤200℃
处理量:140m3/h(以水为介质)
进出口接管规格:DN100 PN1.6
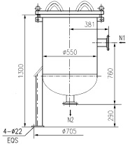
②五至八只袋精细过滤器JHGB-5~8II型
注:①表中所列流量以水为介质,工作压力≤1.0MPa
②进出口N1、N2接管规格,JHGB-5、6II为DN100、PN1.6,
JHGB-7、8II为DN150、PN1.6
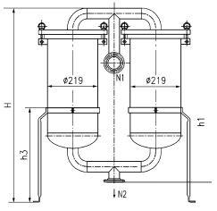
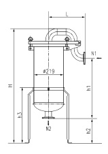
3、并联式精细过滤器JHGB-III型
注:①表中所列流量以水为介质,工作压力≤1.0MPa
②进出口接管规格:DN65、PN1.6
应用领域
滤袋特征表
滤袋参数
注:△表示有此规格
<< 返回
南通沃尔驰石化工程有限公司 地址:启东市汇龙镇中央河中路691号 邮编:226200 http://www.qdhtxj.com E-mail:13862978163@126.com
电话:0513-83325673 传真:0513-83119878 手机: 13862978163
管式反应器
管道反应器